Siirry pääsisältöön
Siirry hakuun
Sulje mainos
Sulje mainos
Tilaa
Hae
Valikko
Etusivu
Konedata
Maatalous
Metsä
Maarakennus
Weteraani
Lehdet
Osastot
Etusivu
Ajoneuvot ja ympäristö
Huolto ja tekniikka
Lukijan idea
Maarakennus
Maatalous
Metsä
Pääkirjoitus
Uutiset
Weteraani
Yritykset ja tapahtumat
Lehdet
Koneviesti
Palvelut
Konedata
Ota yhteyttä
Tilaa Koneviesti
Asiakaspalvelu
Jätä ilmoitus
Tilaa uutiskirje
Lähetä uutisvinkki
Lähetä palautetta
Lähetä oikaisupyyntö
Toimituksen yhteystiedot
Mediamyynnin yhteystiedot
Siirry sivupalkkiin
Siirry alaosaan
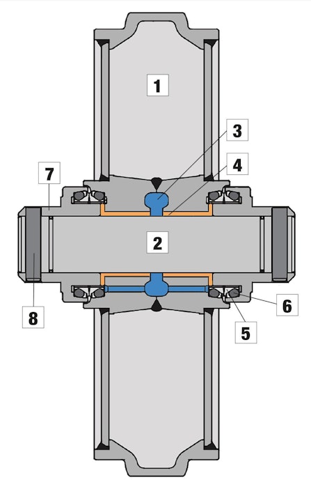
Kaivinkoneen telaketjun johtopyörän ja telarullien laakerointi
Telaketjun johtopyörän ja telarullien laakerointi on tavallisesti toteutettu pronssihelalaakereilla. Ne kestävät erinomaisesti iskuja ja ovat edullisia valmistaa.
Tilaajalle
Jaa
Huolto ja tekniikka
|
Maanrakennuskoneet
31.1.2019
01:00
Jussi Laukkanen
Artikkelin aiheet
kaivinkoneen telaremontti
telaremontti
telaston korjaus
Jaa
Osaston luetuimmat
1
Sähkö ja lämmitys
|
Puukäyttöinen kamiina on tehokas lämmitysmuoto konehalliin – tarvittavat luvat kannattaa tarkistaa oman kunnan viranomaisilta
2
Huolto
|
Ajoneuvon pakkaskäynnistys Milwaukeen apukäynnistimellä – vaihdettavalla akulla varustetussa laitteessa riittää tehoa jopa 50 käynnistyskertaan
Tilaajalle
3
Sähkö ja lämmitys
|
Hyvästit öljylämmitykselle
4
Työkalut
|
Ylläpitolaturit pitävät akun käyttökunnossa, vaikka kone olisi kuukausia käyttämättä — nykyautot voivat tarvita laturia vaikka niillä ajettaisiin päivittäin
5
Sähkö ja lämmitys
|
Käytä ilmalämpöpumppua oikein – lämmintä ja viileää sisäilmaa kohtuudella
6
Koneet ja kulkuneuvot
|
Nostaako kiertovesipumpulla varustettu letkulämmitin koneen lämmitystehoa? Kokeilussa moottorin jäähdytysvesiletkuun asennettava letkulämmitin
7
Tekniikka
|
Jäätyneet vesiputket auki omatoimisesti ja samalla sähköisen pakkasvahdin asennus – rahaa kului alle 150 euroa