
Aurauskulmilla on iso merkitys ajoneuvon käsiteltävyyteen – huomioi nämä asiat pyörien aurauskulmien säädössä
Aurauskulmat vaikuttavat ajoneuvon käsiteltävyyteen, ajomukavuuteen, polttoaineenkulutukseen ja renkaiden kulumiseen. Tarkastamisen voi tehdä hyvin yksinkertaisilla välineillä.
Aurauskulmilla on suuri vaikutus traktorin renkaiden kulumiseen. Aurauskulmat tarkastetaan yleensä vain silloin, kun jokin ohjaukseen liittyvä osa on vaihdettu. Se olisi kuitenkin järkevää tehdä osana säännöllistä huoltoa, sillä virheelliset aurauskulmat voivat syntyä myös kulumisen tai pyöriin kohdistuneiden suurten voimien johdosta. Kuva: Juho NivalaPyörien aurauskulmat
- Aurauskulmat ovat ajoneuvon pituussuuntaiset kulmat. Kun pyörät ovat suunnattu sisäänpäin, on kyseessä auraus (toe-in), kun ulospäin, haritus (toe-out).
- Muut pyörän asentoa kuvaavat kulmat ovat pystykallistuma (camber), olkatapin takakallistuma (caster) ja olkatapin sivukallistuma (KPI).
- Traktoreissa, työkoneissa ja useissa autoissa vain aurausta voidaan normaalisti säätää.
Ei ole väliä onko kysymyksessä pikkuauto, kuorma-auto tai traktori, aurauskulmilla on iso merkitys ajoneuvon käsiteltävyyteen, ajomukavuuteen, polttoaineenkulutukseen ja renkaiden kulumiseen. Varsinkin maatalouskoneiden suurikokoisten renkaiden tarpeeton kuluminen aiheuttaa helposti niin suuren kustannuksen, että aurauskulmien säätöön uhrattu aika tulee hyvin kannattavaksi.
Tavallisesti aurauskulmien tarkistus ja mahdolliset säätötoimet tulevat ajankohtaisiksi sen jälkeen, kun pyörän tuentaan tai ohjaukseen liittyviä osia on jouduttu vaihtamaan. Tässä tullaankin yhteen tärkeimpään asiaan, mikä aurauskulmien säätöön liittyy: säädön voi tehdä vain silloin, kun pyörien tuennat ja ohjausnivelet ovat kunnossa. Muussa tapauksessa työ on suurimmaksi osaksi turhaa ja jopa mahdotontakin.
Ohjauskulmat muuttuvat normaalisti vähitellen akselin nivelten kulumisen seurauksena. Tästä syystä kulmat on tarkastettava säännöllisesti. Pelkkä uudelleen säätö ei tavallisesti kuitenkaan onnistu, mikäli syynä on osien kuluminen. Väljyydet estävät kunnollisten säätöjen tekemisen, koska pyörän tuennan tyhjä liike muuttaa pyörän asentoa sen mukaan, minkä suuntaisia voimia siihen kohdistuu.
Aurauskulmien säädön edellytys on, että tiedetään valmistajan antama ohjearvo. Arvaamaan ei kannata ryhtyä, sillä valmistajan hyväksi toteama aurauskulma on monen tekijän summa; edes vetotapa ei suoraan määritä pitäisikö pyörät asettaa toe-in-säätöön vai painvastoin.
Kun traktori tuntuu ajettaessa rauhattomalta ja sitä on jatkuvasti paimennettava, voi syynä olla virheelliset aurauskulmat. Kun aurausta on liikaa tai liian vähän pyrkii toinen pyöristä ottamaan ohjat ja traktorin keula lähtee kulkemaan sen osoittamaan suuntaan. Samalla heikommalla pidolla oleva pyörä joutuu luistamaan sivusuunnassa. Luisto vaihtelee puolelta toiselle sen mukaa, kuinka pyörät löytävät pitoa. Kuva: Tapio VesterinenKulmien mittaus
Aurauskulmien tarkastus on periaatteessa hyvin yksinkertainen työ. Ohjaavien pyörien etu- ja takapuolelta pitää saada pyörän navan korkeudelta etäisyys pyörästä toiseen. Mittapisteeksi voi valita vanteen kehän uloimman kohdan, mutta myös renkaan kylki tai kulutuspinnan reuna voi joskus olla yhtä hyvä kiintopiste. Mittaustarkkuuden kannalta on aina parempi, mitä kauempana pyörän keskipisteestä mittauskohta sijaitsee. Mikäli valmistaja on ohjeistanut mittaamaan renkaan kyljestä, kuten esimerkiksi Valtran kohdalla on asianlaita, tehdään mittaus luonnollisesti kyseisestä kohdasta.
Jotta vanteen tai renkaan muotovirheet eivät vaikuttaisi mittaustulokseen, on mittaus tehtävä seuraavalla tavalla: merkitään liidulla renkaiden etupuolelle merkit tarkasti navan korkeudelle ja tehdään mittaus. Seuraavaksi ajetaan tasan puolen renkaanmitan verran eteenpäin niin, että merkit tulevat renkaan taakse mahdollisimman tarkasti navan korkeudelle ja otetaan uusi mitta. Kun tästä vähennetään ensimmäisen mittauksen lukema, on tuloksena auraus millilukemana.
Kulmien mittaus on helppo tehtävä koneessa, jossa koneen alla on niin paljon tilaa, että pyörien välistä voi ottaa suorassa linjassa mitan vanteen kehältä kello 9 ja 3 kohdilta.
Autojen kohdalla tämä ei ole mahdollista ja siksi tarvitaan järjestely, jolla mittaus voidaan tehdä vanteen ulkosivulta. Seuraavaksi esimerkkinä menetelmä, joka vaatii onnistuakseen tasaisen alustan kaksi rimaa, jotka ovat hieman ajoneuvon leveyttä pidemmät, narua ja rullamitan.
Auton eteen ja taakse asetetaan auton koriin nähden poikkisuuntaan rimat ja tuetaan ne harkoilla tai puupölleillä pyörän navan keskipisteen korkeudelle. Molemmin puolin autoa pingotetaan ohut naru rimasta toiseen niin, että naru tulee 10‒20 cm etäisyydelle pyöristä ja auton kyljistä.
Tarkastetaan, että narujen kiinnityspisteiden välinen etäisyys etummaisessa ja takimmaisessa rimassa on yhtä suuri. Jotta narut pysyisivät hyvin pingotettuina, voi niihin asettaa keskikohdan tienoille jousen tai kuminauhan. Narun sijasta voi käyttää laseria, mikäli sellainen on tarjolla.
Tämän jälkeen mitataan vanteen tai renkaan kyljen etäisyys langasta kummankin etupyörän etu- ja takapuolelta. Mittalukemien erotus kertoo aurauksen tai harituksen suuruuden. Mikäli eri puolien erotukset poikkeavat toisistaan, on ohjaus käännettävä suoraan. Huomioi, että mikäli valmistaja on antanut aurauksen arvon milleinä, tulee kummankin puolen arvot laskea yhteen.
Aurauskulma voidaan ilmoittaa myös kulman astelukuna (esimerkiksi 0.10´). Tämä kannattaa muuttaa desimaaliluvuksi netistä löytyvän laskimen avulla (0.10´ = 0,17 astetta). Sen jälkeen haetaan netistä suorakulmaisten kolmioiden laskin ja sijoitetaan laskimeen etummaisen ja takimmaisen mittapisteen välimatka kolmion pitkäksi sivuksi. Kun mittauspisteiden välimatka on esimerkiksi 1000 mm, tulee 0,17 asteen kulmalla vastakkaisen kateetin mitaksi 2,967 mm, mikä on yhtä kuin auraus ajoneuvon yhdellä puolella.
Mikäli ratti ei aurauskulmien säädön jälkeen ole enää suorassa, on voinut käydä niin, että pyörien säädöt eivät ole tulleet yhtä suuriksi. Raidetankojen säätövarojen on oltava molemmin puolin ajoneuvoa samansuuruiset, muutoin ratin asento siirtyy pois keskikohdasta.
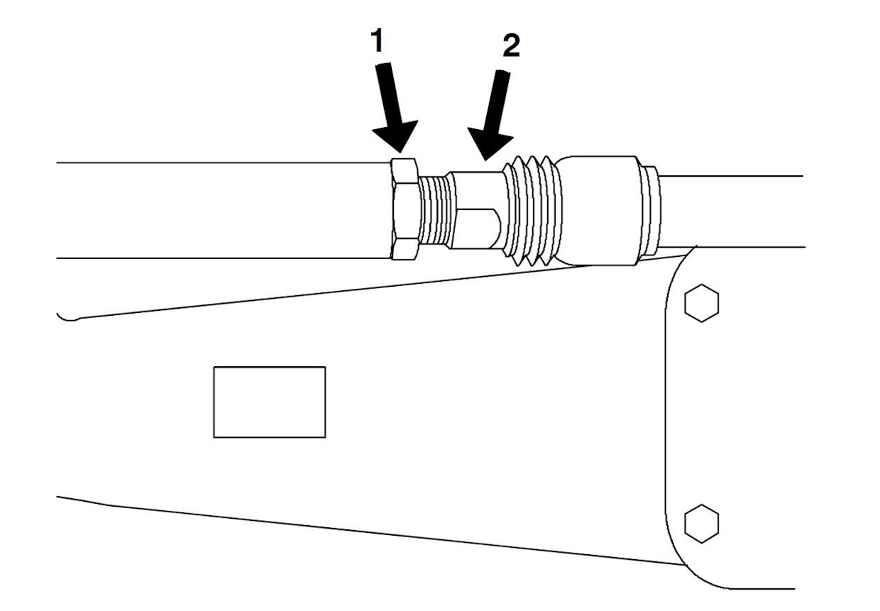
Valtra ohjeistaa ottamaan aurauksen mitan ensin eturenkaiden kylkien keskeltä edestä ja ajamaan traktoria sen jälkeen puolen renkaan kierroksen matkan ja mittaamaan samojen pisteiden välimatkan uudestaan. Säätö tehdään löysäämällä lukitusmutteri (1) ja kiertämällä raidetangon säätöruuvia (2). Säätö on tehtävä yhtä suurena kummankin renkaan puolella. Tarkista lopuksi, että kummallakin puolella säätöruuvin kierrettä on saman verran näkyvissä. Kuva: Valmistaja
Ohjausniveltä vaihdettaessa on usein tapana laskea vanhasta nivelestä, kuinka monta kierrosta säätöruuvi on kierrettynä sisään, jotta säätö saataisiin entiselle kohdalle. Menetelmä toimii, mikäli uusi ja vanha osa ovat täysin samanlaiset. Näin on aika harvoin. Kuva: Tapio VesterinenJoko sinulle tulee Koneviestin uutiskirje? Tilaamalla maksuttoman uutiskirjeen saat noin kerran kuukaudessa sähköpostiisi toimituksen valitsemia kiinnostavimpia juttuvinkkejä. Tilaa uutiskirje
Artikkelin aiheet- Osaston luetuimmat


